
Ideale per le ristrutturazioni
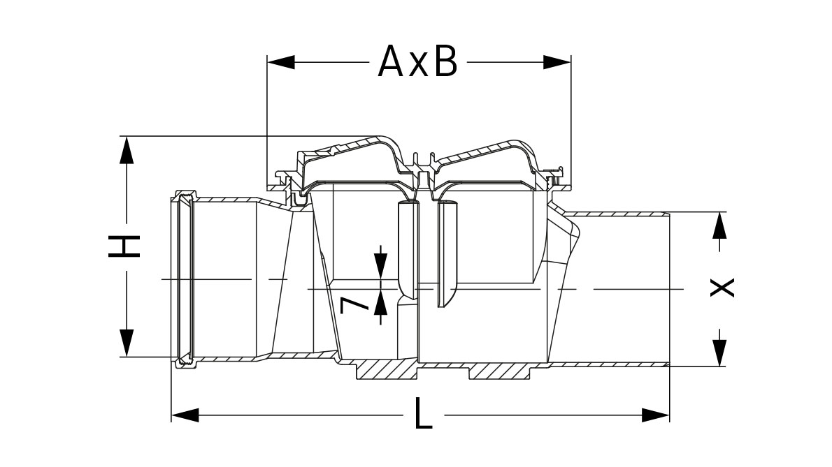
Se la valvola antiriflusso non può essere installata nelle tubazioni esistenti, i costi e il lavoro possono aumentare notevolmente. L’ingombro del modello Staufix Basic è di soli 7 mm dall’entrata allo scarico – pertanto, può essere integrato senza problemi. La variante “modulo di ispezione e spurgo del corpo base” è utilizzabile come elemento di pulizia.

Funzionamento impeccabile – manutenzione senza utensili
Il modello Staufix Basic è realizzato completamente in materiale plastico – ed è quindi protetto dalla corrosione. Questa non è tuttavia l’unica caratteristica che lo rende semplice da usare. Grazie alle sue pratiche chiusure rapide, la valvola antiriflusso può essere aperta senza utensili per la manutenzione.

Non avete trovato il prodotto giusto?
Oltre alle nostre valvole antiriflusso standard, sviluppiamo soluzioni individuali per speciali requisiti in fatto di forma, funzionamento e dimensionamento in base alle esigenze dei nostri clienti.



























